新闻中心
万博manbext网站登录app官网KKday是一个筹算地旅游劳动平台-万博manbext网站登录 万博manbext体育官网注册账号入口
发布日期:2026-01-11 08:43 点击次数:212

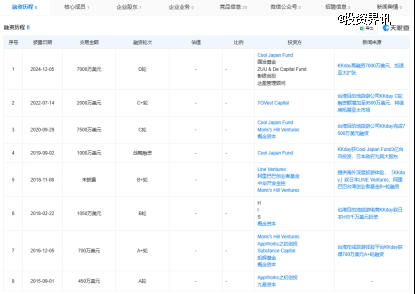
投资界(ID:pedaily2012)12月6日音问,堪称“亚洲最大旅游电商平台”的KKday,通知再获取约7000万好意思元D轮融资。本次募资由Cool Japan Fund、国发基金、ZUU & De Capital Fund、彰银创投、达盈贬责照应人等投资东谈主合力复古。
天眼查信息浮现,KKday是一个筹算地旅游劳动平台,为用户提供古城探索、泰式管理课、SPA推拿、森林飞索、大象体验营等技俩预订劳动,业务秘密韩国、马来西亚、泰国、菲律宾、越南等地区,同期提供私房景点、 一日游、票券、包车旅游、机场接送等劳动。
KKday经由十年发展,当今已深耕亚太市集,在中国台湾、中国香港、日本、韩国、新加坡、泰国、越南、澳洲等地建设了11个中枢据点。
KKday创办东谈主&实行长陈明昭示意,感谢投资东谈主与统共配联合伴们一直以来的复古,这也突显各界关于旅游科技产业的成长后劲及愿景充满信心万博manbext网站登录app官网,KKday会捏续肃穆膨大,上演新创出海的领投羊。

